格力电器获得实用新型专利授权:“空调器壳体及应用其的空调器”
证券之星消息,根据天眼查APP数据显示格力电器(000651)新获得一项实用新型专利授权,专利名为“空调器壳体及应用其的空调器”,专利申请号为CN202422216450.6,授权日为2025年6月20日。

图片来源于网络,如有侵权,请联系删除
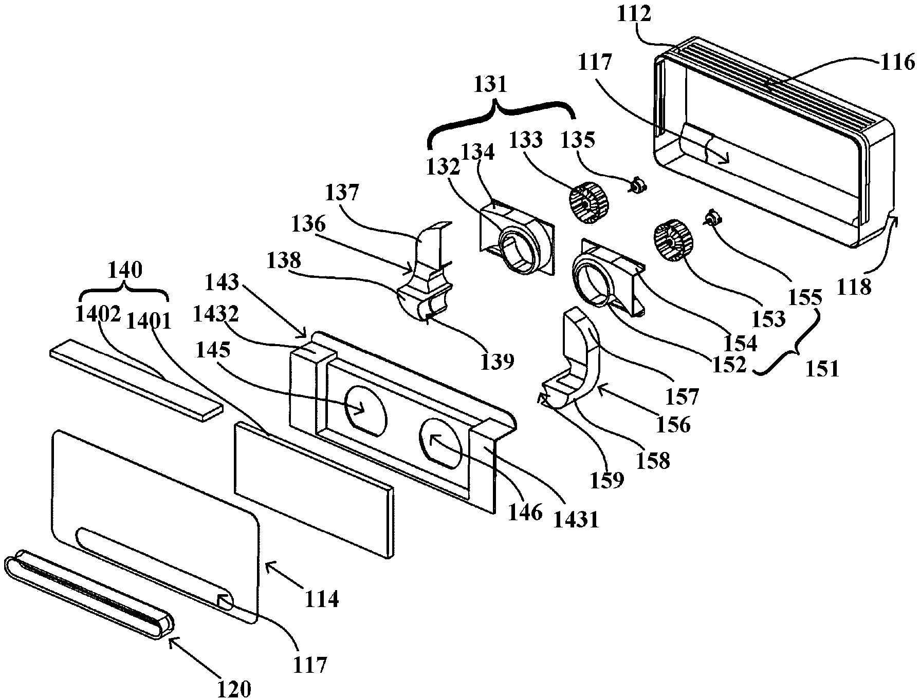
专利摘要:本实用新型提供一种空调器壳体及应用其的空调器,其中空调器壳体包括:一体成型的组合体,组合体包括内隔板和设于内隔板一端的面罩,内隔板的相对另一端设有用于连接换热器的连接部。本实用新型提供的空调器壳体,由于隔板主体、连接边板和面罩一体成型,使二者作为一个组合体整体与壳体其它面板进行装配,减少室外机壳体需装配的板件数量,节省使用较多螺钉连接内隔板和面罩的步骤,缩短空调器壳体的装配流程和周期并提升装配效率。同时,与面罩一体连接成型提高了内隔板的结构强度和承载能力,在减少空调器壳体装配、提升装配效率的同时,使隔板主体、连接边板表面可减少设置加强筋,以保留面积足够大的平直表面,使内隔板能够支撑一定的负载。

图片来源于网络,如有侵权,请联系删除
今年以来格力电器新获得专利授权2885个,较去年同期减少了7.65%。结合公司2024年年报财务数据,2024年公司在研发方面投入了69.04亿元,同比增2.1%。

图片来源于网络,如有侵权,请联系删除
通过天眼查大数据分析,珠海格力电器股份有限公司共对外投资了100家企业,参与招投标项目26607次;财产线索方面有商标信息8132条,专利信息115519条,著作权信息297条;此外企业还拥有行政许可828个。
数据来源:天眼查APP
以上内容为证券之星据公开信息整理,由AI算法生成(网信算备310104345710301240019号),不构成投资建议。