美硕科技获得实用新型专利授权:“一种电磁阀”
证券之星消息,根据天眼查APP数据显示美硕科技(301295)新获得一项实用新型专利授权,专利名为“一种电磁阀”,专利申请号为CN202422979310.4,授权日为2025年10月3日。

图片来源于网络,如有侵权,请联系删除
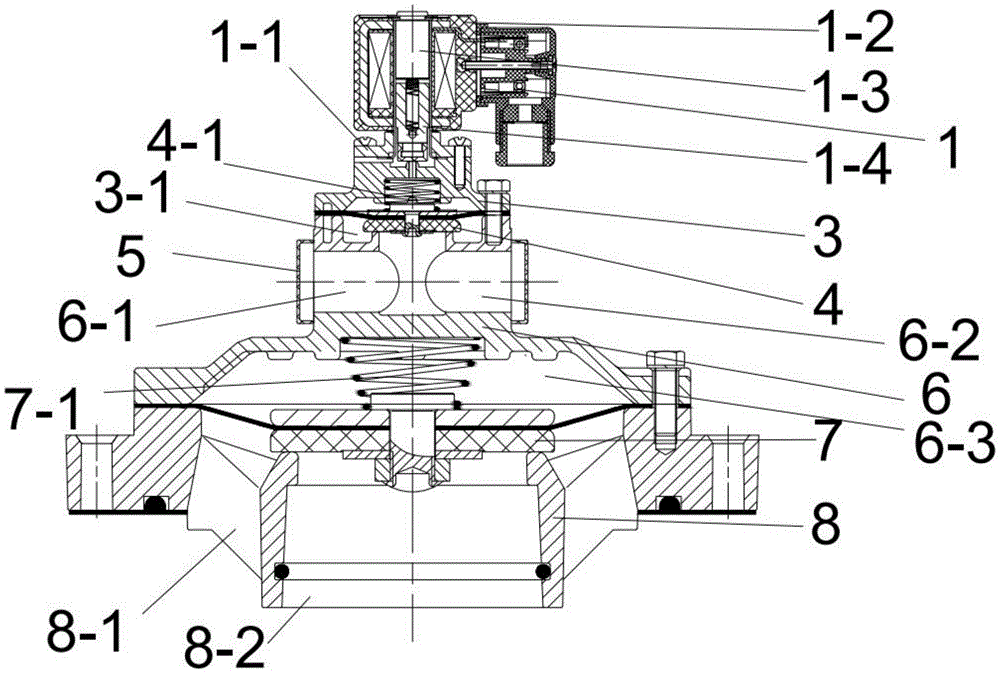
专利摘要:本实用新型公开了一种电磁阀,电磁阀包括阀体、线圈组件和卡板,阀体包括入口、出口、以及用于液体沿入口流通至出口的内部流道,阀体的顶部设有腔壁,腔壁的内侧设有轴向延伸至腔壁顶部的第一开口、以及连通于第一开口底部且沿腔壁周向延伸的第二开口,腔壁的外侧开设有第三开口;线圈组件包括定位脚和动铁芯组件,定位脚设置于线圈组件的底部外周,定位脚能够沿第一开口移动并旋入第二开口,以使线圈组件连接于阀体,动铁芯组件能够轴向移动以控制内部流道通断;卡板包括卡板本体、连接于卡板本体同一侧的第一卡件和第二卡件,第一卡件能够插入第一开口,第二卡件用于与第三开口卡接,避免通过螺钉实现各部件连接所导致的材料脆性开裂。

图片来源于网络,如有侵权,请联系删除
今年以来美硕科技新获得专利授权17个,较去年同期减少了32%。结合公司2025年中报财务数据,今年上半年公司在研发方面投入了1850.41万元,同比增35.48%。

图片来源于网络,如有侵权,请联系删除
通过天眼查大数据分析,浙江美硕电气科技股份有限公司共对外投资了3家企业,参与招投标项目15次;财产线索方面有商标信息50条,专利信息208条,著作权信息65条;此外企业还拥有行政许可10个。
数据来源:天眼查APP
以上内容为证券之星据公开信息整理,由AI算法生成(网信算备310104345710301240019号),不构成投资建议。