慕思股份获得实用新型专利授权:“一种插瓶式香薰床垫”
63005
2025月11月04日
证券之星消息,根据天眼查APP数据显示慕思股份(001323)新获得一项实用新型专利授权,专利名为“一种插瓶式香薰床垫”,专利申请号为CN202423069457.6,授权日为2025年11月4日。

图片来源于网络,如有侵权,请联系删除
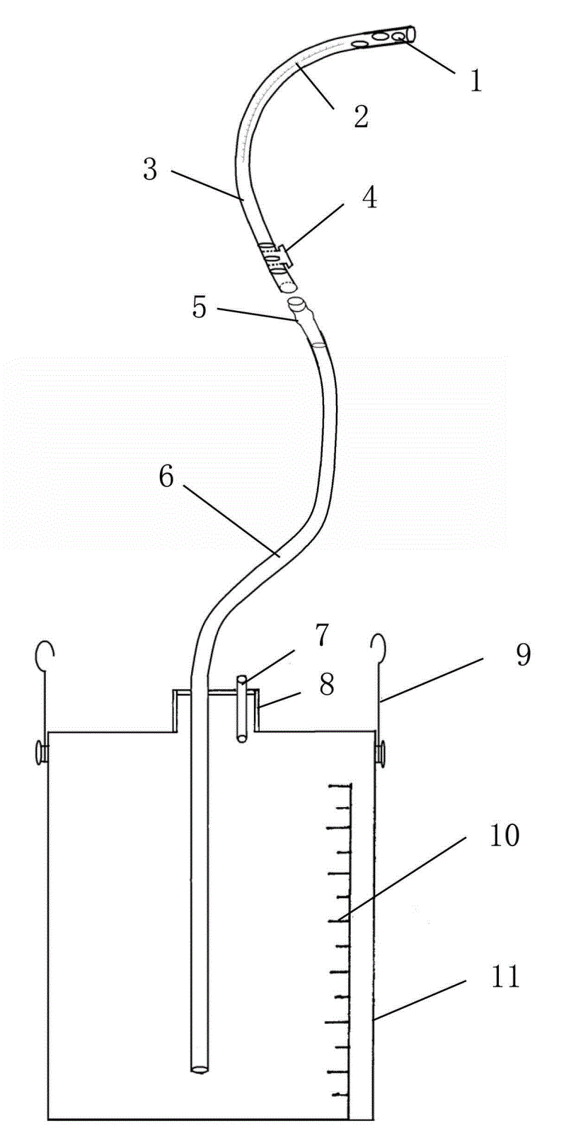
专利摘要:本实用新型涉及生活用品技术领域,具体公开一种插瓶式香薰床垫,包括:床垫主体;分香管道,所述分香管道位于所述床垫主体中,且设有若干透气孔;雾化装置,所述雾化装置安装于所述床垫主体上,设有若干用于供精油瓶插入的精油插槽;其中,所述雾化装置用于从所述精油瓶取用精油并进行雾化后输送至所述分香管道。本实用新型提供的插瓶式香薰床垫,能有效解决现有床垫香气种类单一且更换不便的问题。

图片来源于网络,如有侵权,请联系删除
今年以来慕思股份新获得专利授权180个,较去年同期增加了28.57%。结合公司2025年中报财务数据,今年上半年公司在研发方面投入了9989.17万元,同比增2.2%。

图片来源于网络,如有侵权,请联系删除
通过天眼查大数据分析,慕思健康睡眠股份有限公司共对外投资了15家企业,参与招投标项目51次;财产线索方面有商标信息2114条,专利信息2250条,著作权信息176条;此外企业还拥有行政许可109个。
数据来源:天眼查APP
以上内容为证券之星据公开信息整理,由AI算法生成(网信算备310104345710301240019号),不构成投资建议。