汇隆活塞获得实用新型专利授权:“一种专用活塞销中心孔加工结构”
证券之星消息,根据天眼查APP数据显示汇隆活塞(920455)新获得一项实用新型专利授权,专利名为“一种专用活塞销中心孔加工结构”,专利申请号为CN202520023511.9,授权日为2026年2月3日。

图片来源于网络,如有侵权,请联系删除
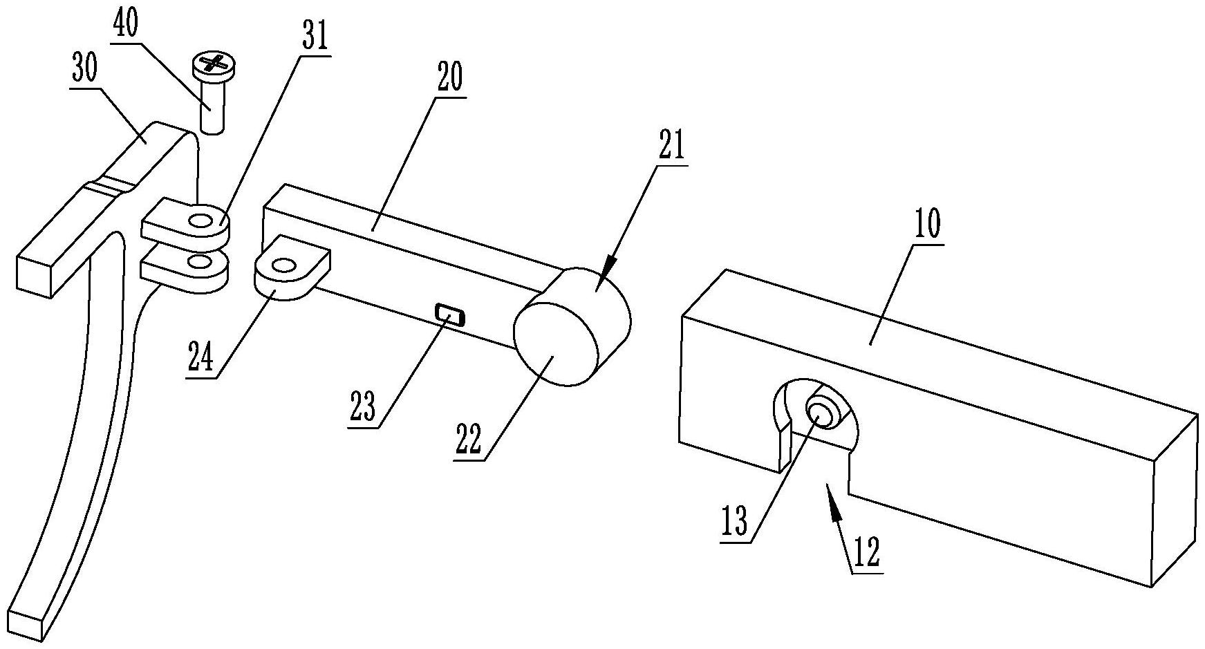
专利摘要:本实用新型涉及加工技术领域,公开了一种专用活塞销中心孔加工结构,包括底座,所述底座顶部设置有有压块,所述压块外壁设置有压板,所述压板中部螺纹连接有压紧螺钉,所述底座后侧外壁底部设置有限位柱,所述限位柱外壁套设有平垫,所述底座外壁顶部设置有角度定位销,所述底座中部设置有活塞销,压板外壁设置有轴用挡圈,轴用挡圈主要起到限制压板轴向位移的作用,防止在加工过程中因振动或其他外力因素导致压板沿轴向窜动。本实用新型中,结构操作简单,重复定位精度高,并能有效保证活塞销的外圆内孔及端面的各处形位公差及表面质量,减少工序避免振刀、装夹精准,提高效率及精度,保证产品加工质量。

图片来源于网络,如有侵权,请联系删除
今年以来汇隆活塞新获得专利授权2个。结合公司2025年中报财务数据,2025上半年公司在研发方面投入了289.87万元,同比减8.01%。

图片来源于网络,如有侵权,请联系删除
通过天眼查大数据分析,大连汇隆活塞股份有限公司参与招投标项目172次;财产线索方面有商标信息3条,专利信息66条;此外企业还拥有行政许可12个。
数据来源:天眼查APP
以上内容为证券之星据公开信息整理,由AI算法生成(网信算备310104345710301240019号),不构成投资建议。