华强科技获得实用新型专利授权:“一种具有快拆除尘结构的浸渍炭活化沸腾炉”
证券之星消息,根据天眼查APP数据显示华强科技(688151)新获得一项实用新型专利授权,专利名为“一种具有快拆除尘结构的浸渍炭活化沸腾炉”,专利申请号为CN202520319385.1,授权日为2026年2月6日。

图片来源于网络,如有侵权,请联系删除
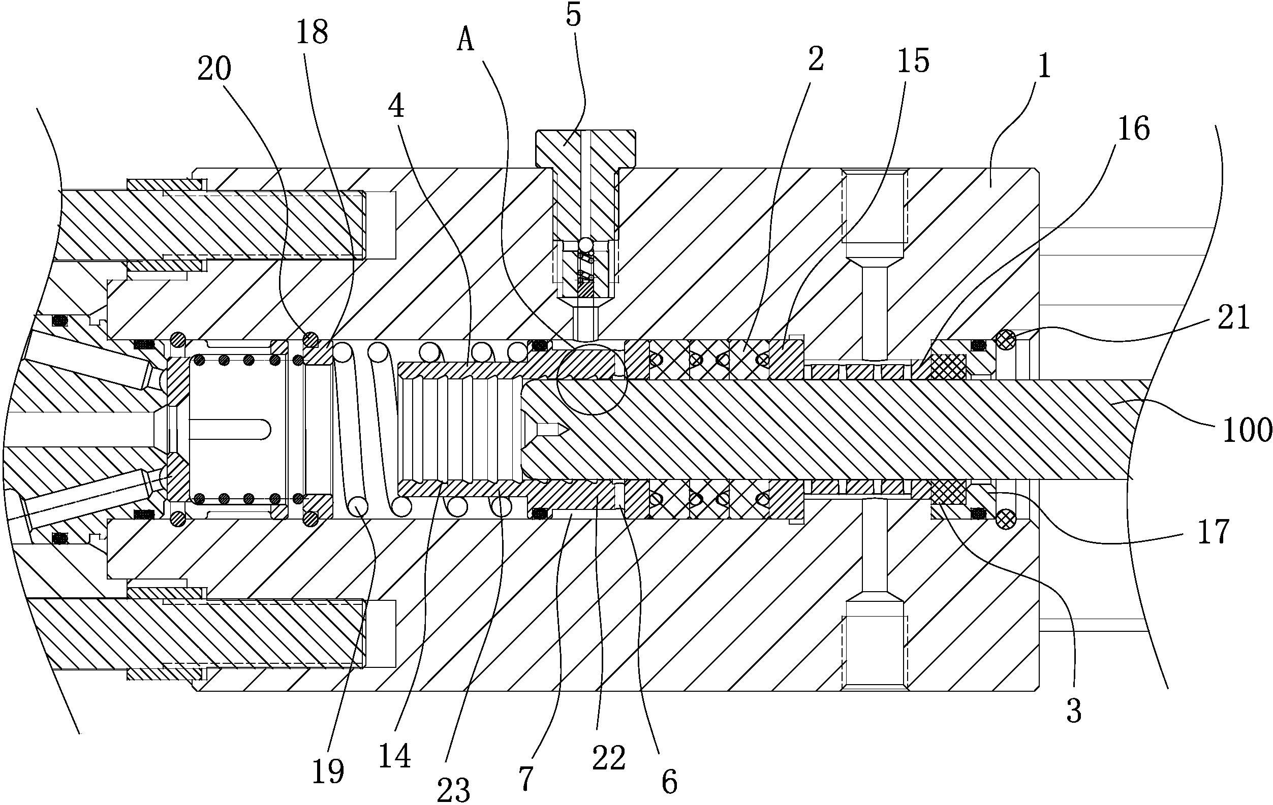
专利摘要:本实用新型涉及一种具有快拆除尘结构的浸渍炭活化沸腾炉,旨在解决现有沸腾炉在生产过程中产生大量灰尘且无法及时排出的问题。该沸腾炉包括引风机、鼓风机、移动支架、沸腾炉体和快拆过滤网。沸腾炉体分为上炉体和下炉体,通过伸缩节连接。上炉体内安装有快拆过滤网,包括耳板、筛网、金属环、磁吸片和连接螺杆,便于快速拆卸和更换。下炉体设有分流板、观察窗、取料口和第一温度传感器。引风管和抽尘管内分别设有第二和第三温度传感器,实时监测温度。移动支架底部设有滚轮和旋转轴承座,便于移动和翻转卸料。本实用新型通过快拆过滤网和温度控制,有效减少灰尘,确保生产连续性和产品质量,提高生产效率。

图片来源于网络,如有侵权,请联系删除
今年以来华强科技新获得专利授权2个,与去年同期持平。结合公司2025年中报财务数据,2025上半年公司在研发方面投入了2923.02万元,同比增4.47%。

图片来源于网络,如有侵权,请联系删除
通过天眼查大数据分析,湖北华强科技股份有限公司共对外投资了5家企业,参与招投标项目1126次;财产线索方面有商标信息50条,专利信息360条,著作权信息1条;此外企业还拥有行政许可172个。
数据来源:天眼查APP
以上内容为证券之星据公开信息整理,由AI算法生成(网信算备310104345710301240019号),不构成投资建议。