青岛港获得实用新型专利授权:“具有防卷手装置的压面机”
71978
2025月04月01日
证券之星消息,根据天眼查APP数据显示青岛港(601298)新获得一项实用新型专利授权,专利名为“具有防卷手装置的压面机”,专利申请号为CN202421300657.5,授权日为2025年4月1日。

图片来源于网络,如有侵权,请联系删除
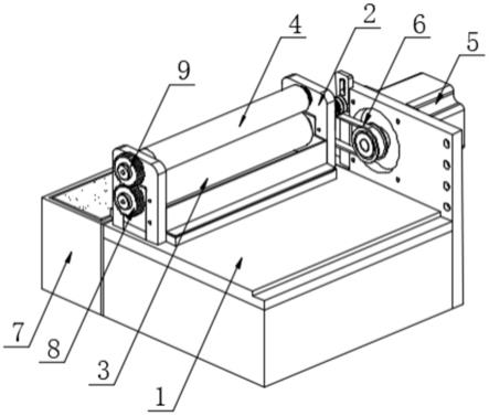
专利摘要:本实用新型涉及食品加工设备领域,具体地涉及一种具有防卷手装置的压面机。该具有防卷手装置的压面机包括:机身,在机身顶部开设有取料口;压面辊,可转动的安装在机身内并且位于取料口处;出料输送带;防卷手装置,安装在机身上并且配置成遮挡压面辊;防卷手装置包括安装在机身上的主体和与主体形成铰接配合的盖板;盖板靠近出料输送带并且配置成打开以观察和检修压面辊。本实用新型具有防卷手装置的压面机能够遮挡部分取料口,从而遮挡压面辊,有效的阻断压面辊和操作人员之间的接触,避免压面辊对操作人员造成挤手、卷手伤害,保护操作人员的安全。同时,盖板打开时,能够较为方便的观测和检修压面辊,清理压面辊处理的卫生。
今年以来青岛港新获得专利授权43个,较去年同期增加了53.57%。结合公司2024年年报财务数据,2024年公司在研发方面投入了1.05亿元,同比增0.04%。
数据来源:天眼查APP
以上内容为证券之星据公开信息整理,由智能算法生成(网信算备310104345710301240019号),不构成投资建议。