首钢股份获得实用新型专利授权:“回转窑燃烧系统”
59561
2025月04月15日
证券之星消息,根据天眼查APP数据显示首钢股份(000959)新获得一项实用新型专利授权,专利名为“回转窑燃烧系统”,专利申请号为CN202420599788.1,授权日为2025年4月15日。

图片来源于网络,如有侵权,请联系删除
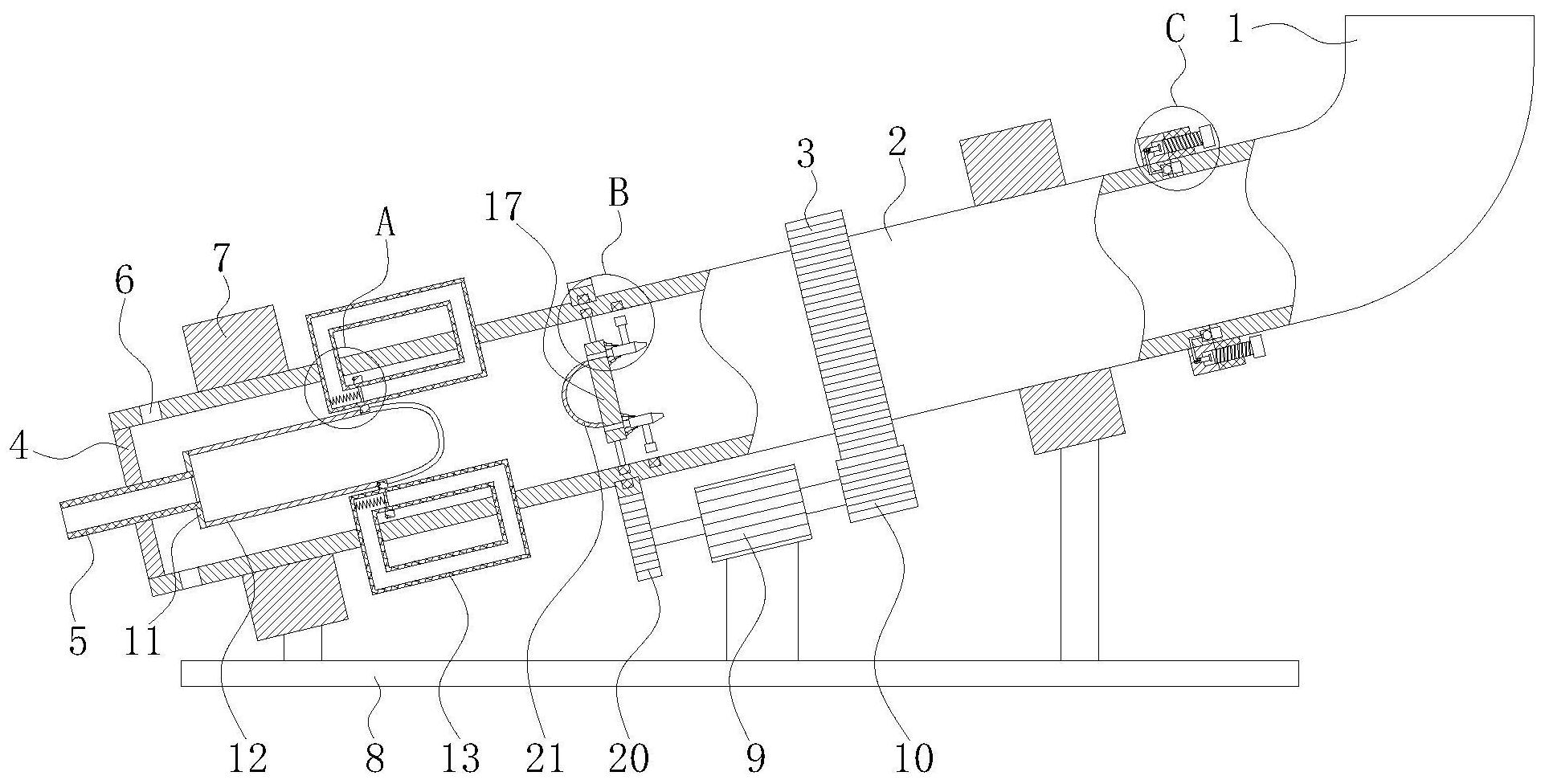
专利摘要:本申请公开了一种回转窑燃烧系统,在需要回转窑燃烧时,连通组件中供气管道靠近回转窑的一端保持封闭,供气管道上设置的氮气吹扫阀可以氮气吹扫供气管道,保持供气管道内充满较为安全的氮气,降低可燃气在供气管道内出现爆炸的可能,提高回转窑的使用安全性。供气管道将可燃气供应设备中的燃气导通至窑头内。设于回转窑的窑头的点火设备,将回转窑内的可燃气体点燃。出口与窑头连通的鼓风机,以及入口与回转窑的窑尾连通的引风机,控制回转窑内空气的流动,使可燃气更充分燃烧。配合回转窑燃烧前氮气的吹扫,也使可燃气可以更充分地燃烧并降低使用时的安全隐患。一定程度上解决燃气燃烧难以充分燃烧以及不充分燃烧带来的的安全隐患问题。

图片来源于网络,如有侵权,请联系删除
今年以来首钢股份新获得专利授权25个,较去年同期减少了30.56%。结合公司2024年中报财务数据,2024上半年公司在研发方面投入了2.95亿元,同比增50.61%。

图片来源于网络,如有侵权,请联系删除
数据来源:天眼查APP
以上内容为证券之星据公开信息整理,由智能算法生成(网信算备310104345710301240019号),不构成投资建议。