宁德时代获得实用新型专利授权:“电池箱壳的箱盖、电池箱壳、电池及用电设备”
62857
2025月04月12日
证券之星消息,根据天眼查APP数据显示宁德时代(300750)新获得一项实用新型专利授权,专利名为“电池箱壳的箱盖、电池箱壳、电池及用电设备”,专利申请号为CN202420537324.8,授权日为2025年4月11日。

图片来源于网络,如有侵权,请联系删除
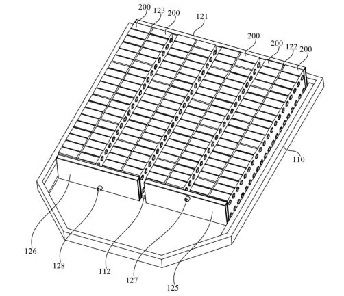
专利摘要:本申请属于电池设计技术领域,尤其涉及一种电池箱壳的箱盖、电池箱壳、电池及用电设备。其中,电池箱壳的箱盖包括面板主体和围板结构,围板结构固定连接于面板主体的周向边缘,围板结构用于与电池箱壳的箱本体的箱口相盖合,面板主体朝向箱本体的一侧设有多个凸筋结构,多个凸筋结构交叉形成阵列分布的多个网格空间,网格空间用于避让电池单体的外凸结构,并且至少部分的凸筋结构远离面板主体的端部用于抵顶电池单体。应用本技术方案旨在解决如何提高电池箱壳的箱盖的主频及模态,以降低箱盖的振动异响的问题。

图片来源于网络,如有侵权,请联系删除
今年以来宁德时代新获得专利授权1268个,较去年同期增加了15.38%。结合公司2024年年报财务数据,2024年公司在研发方面投入了186.07亿元,同比增1.37%。

图片来源于网络,如有侵权,请联系删除
数据来源:天眼查APP
以上内容为证券之星据公开信息整理,由智能算法生成(网信算备310104345710301240019号),不构成投资建议。