中国石化获得实用新型专利授权:“一种用于取样管的加热装置”
50040
2025月05月06日
证券之星消息,根据天眼查APP数据显示中国石化(600028)新获得一项实用新型专利授权,专利名为“一种用于取样管的加热装置”,专利申请号为CN202421498791.0,授权日为2025年5月6日。

图片来源于网络,如有侵权,请联系删除
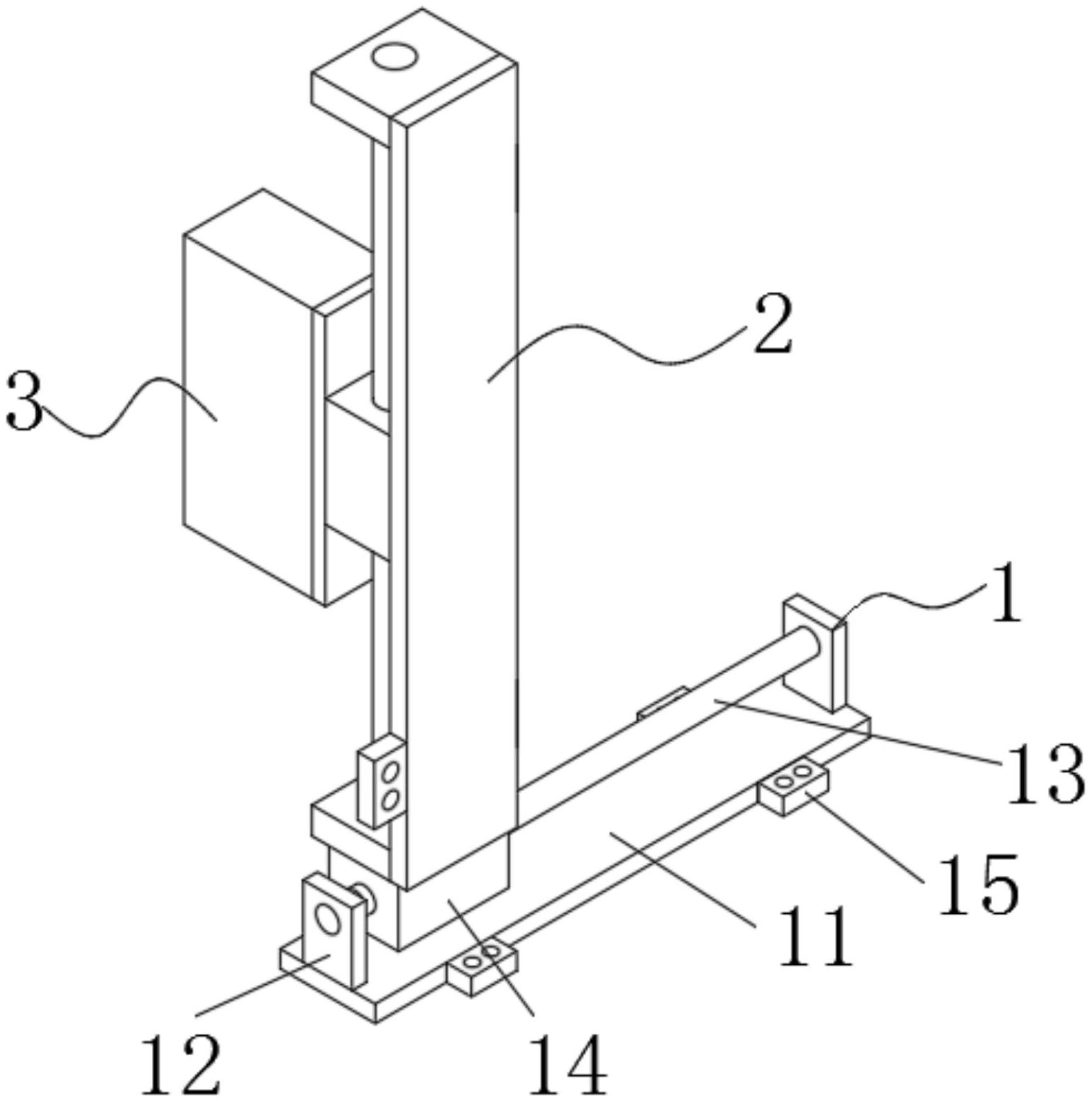
专利摘要:本实用新型涉及一种用于取样管的加热装置,涉及天然气取样技术领域。本实用新型的加热装置包括:框体,其开设有滑孔;滑动杆,其滑动安装于滑孔,且其第一端伸入框体内部连接有加热器,加热器远离第一端的一侧具有弧形加热面,滑动杆的第二端伸出框体;弹性件,弹性件安装于框体,且能够驱动滑动杆滑动,以将弧形加热面压紧在取样管;以及电源,电源位于框体外,滑动杆中包裹有第一导体,第一导体的一端与加热器电连接,第一导体的另一端由滑动杆的第二端伸出与电源相连。利用导向杆的包裹提升了第一导体的强度,且在导向杆移动时第一导体的变形较小。避免了第一导体断裂导致的接触不良,提高了加热装置的稳定性。

图片来源于网络,如有侵权,请联系删除
今年以来中国石化新获得专利授权1079个,较去年同期减少了38.59%。结合公司2024年年报财务数据,2024年公司在研发方面投入了152.15亿元,同比增8.92%。

图片来源于网络,如有侵权,请联系删除
数据来源:天眼查APP
以上内容为证券之星据公开信息整理,由AI算法生成(网信算备310104345710301240019号),不构成投资建议。