盘江股份获得实用新型专利授权:“煤矿井下悬臂式支护设备”
证券之星消息,根据天眼查APP数据显示盘江股份(600395)新获得一项实用新型专利授权,专利名为“煤矿井下悬臂式支护设备”,专利申请号为CN202422526454.4,授权日为2025年7月11日。

图片来源于网络,如有侵权,请联系删除
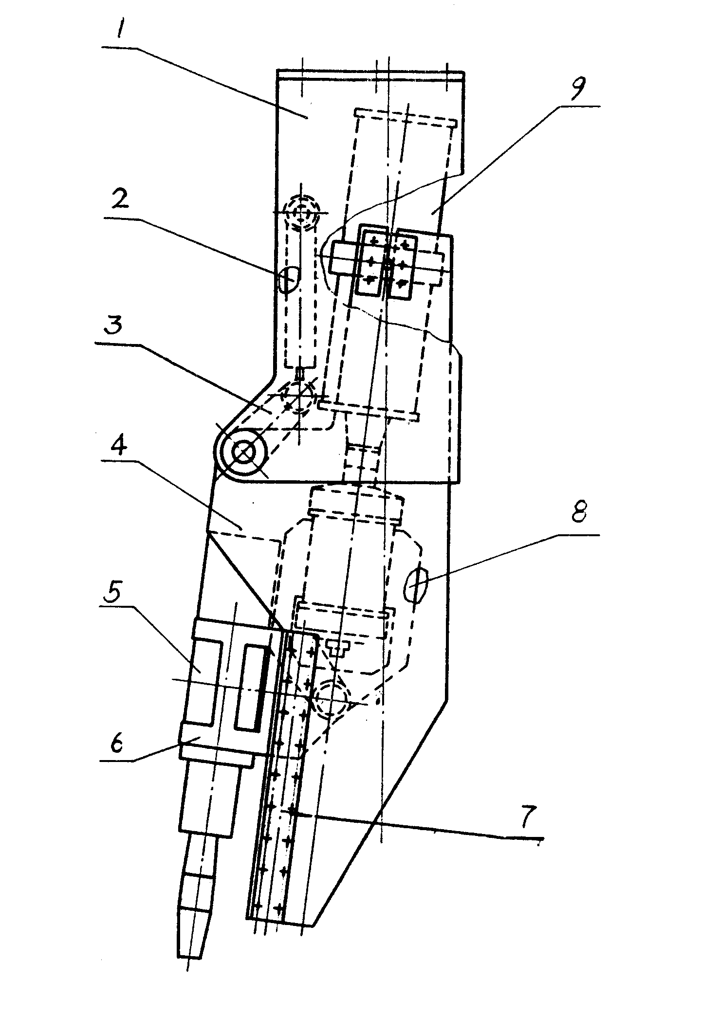
专利摘要:本实用新型公开了煤矿井下悬臂式支护设备,包括肩窝梁、腿梁、卡缆装置和拉杆,肩窝梁与腿梁之间通过卡缆装置连接形成一组悬臂式支架,腿梁下端固定连接在地面上,悬臂式支架采用多组,沿巷道长度方向均匀布置,多组悬臂式支架采用拉杆固定连接形成整体的支架。本实用新型对巷道局部变形位置进行修复,通过调整肩窝梁中的弧形梁、直腿部以及腿梁弧度及长度适应变形部分巷道,减少井巷维修工程量,减小扩巷范围,缩小井巷围岩松动圈发育范围,并通过卡缆装置连接肩窝梁、腿梁,利用多组拉杆将多组悬臂式可缩性支架进行联锁,形成支护整体,且可提供较大的支护强度及支护刚度以适应围岩变形,同时具有可缩性,确保巷道支护使用寿命。

图片来源于网络,如有侵权,请联系删除
今年以来盘江股份新获得专利授权39个,较去年同期减少了42.65%。结合公司2024年年报财务数据,2024年公司在研发方面投入了3.58亿元,同比增65.24%。

图片来源于网络,如有侵权,请联系删除
通过天眼查大数据分析,贵州盘江精煤股份有限公司共对外投资了21家企业,参与招投标项目12400次;财产线索方面有商标信息3条,专利信息899条,著作权信息8条;此外企业还拥有行政许可72个。
数据来源:天眼查APP
以上内容为证券之星据公开信息整理,由AI算法生成(网信算备310104345710301240019号),不构成投资建议。