奥普特获得实用新型专利授权:“一种组合检测系统”
55243
2025月07月29日
证券之星消息,根据天眼查APP数据显示奥普特(688686)新获得一项实用新型专利授权,专利名为“一种组合检测系统”,专利申请号为CN202421754122.5,授权日为2025年7月29日。

图片来源于网络,如有侵权,请联系删除
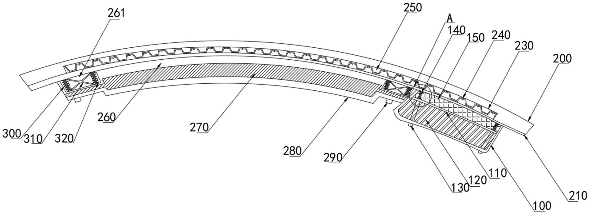
专利摘要:本实用新型涉及机器视觉检测技术领域,公开了一种组合检测系统,通过在玻璃工件的上方倾斜设置线光源装置,可配合图像采集装置检测玻璃工件的表面缺陷,而通过在玻璃工件的下方设置背光源装置,则可配合图像采集装置检测玻璃工件的轮廓尺寸,从而实现了对玻璃工件表面缺陷(比如划伤)和轮廓尺寸的同时检测,提高了检测效率,降低了检测成本,有利于确保产品质量的稳定性。

图片来源于网络,如有侵权,请联系删除
今年以来奥普特新获得专利授权121个,较去年同期增加了57.14%。结合公司2024年年报财务数据,2024年公司在研发方面投入了2.17亿元,同比增7.28%。

图片来源于网络,如有侵权,请联系删除
通过天眼查大数据分析,广东奥普特科技股份有限公司共对外投资了8家企业,参与招投标项目51次;财产线索方面有商标信息192条,专利信息944条,著作权信息126条;此外企业还拥有行政许可31个。
数据来源:天眼查APP
以上内容为证券之星据公开信息整理,由AI算法生成(网信算备310104345710301240019号),不构成投资建议。