建霖家居获得实用新型专利授权:“一种遥控器及其零功耗供电装置”
69778
2026月02月06日
证券之星消息,根据天眼查APP数据显示建霖家居(603408)新获得一项实用新型专利授权,专利名为“一种遥控器及其零功耗供电装置”,专利申请号为CN202520042137.7,授权日为2026年2月6日。

图片来源于网络,如有侵权,请联系删除
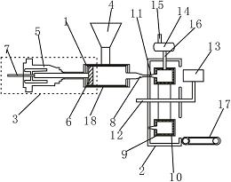
专利摘要:本实用新型提供了一种遥控器及其零功耗供电装置,涉及遥控供电电路技术领域,该装置通过在MCU和控制电路不工作时,利用非自锁开关组合完全切断电源,实现零功耗状态。同时,采用低功耗的功率电子器件,如MOS管和二极管,优化电路设计,减少功率损耗和热量产生。此外,该装置还通过优化遥控器的电路设计,降低遥控器的功耗,并在电池电量低时自动切断电源,防止电池过度放电,从而延长电池的使用寿命。旨在解决现有技术中MCU和控制电路在待机状态下仍消耗静态电流,导致电池寿命缩短的问题。
今年以来建霖家居新获得专利授权11个,较去年同期增加了57.14%。结合公司2025年中报财务数据,2025上半年公司在研发方面投入了1.35亿元,同比增11.52%。
通过天眼查大数据分析,厦门建霖健康家居股份有限公司共对外投资了8家企业,参与招投标项目64次;财产线索方面有商标信息387条,专利信息2920条;此外企业还拥有行政许可79个。
数据来源:天眼查APP
以上内容为证券之星据公开信息整理,由AI算法生成(网信算备310104345710301240019号),不构成投资建议。