中国石油获得实用新型专利授权:“注水井采油树电缆穿越法兰连接装置”
75951
2025月04月15日
证券之星消息,根据天眼查APP数据显示中国石油(601857)新获得一项实用新型专利授权,专利名为“注水井采油树电缆穿越法兰连接装置”,专利申请号为CN202421566019.8,授权日为2025年4月15日。

图片来源于网络,如有侵权,请联系删除
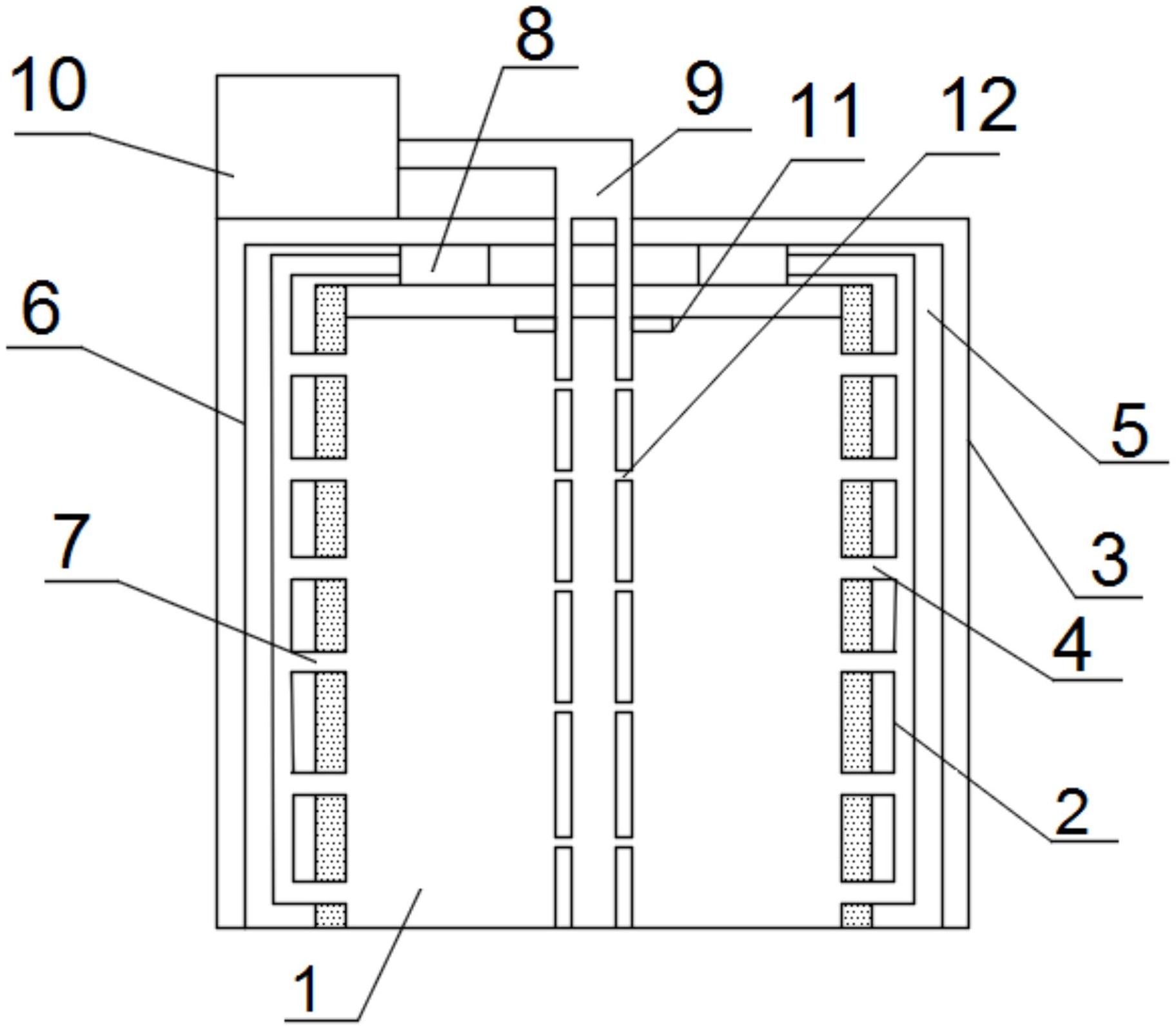
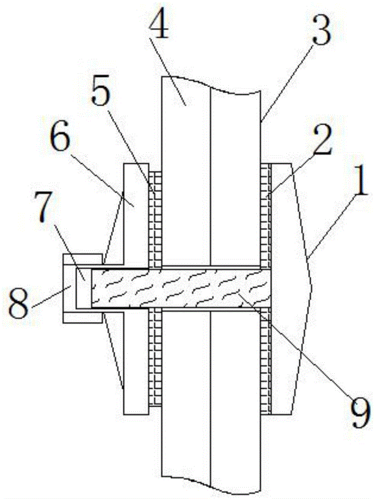
专利摘要:本实用新型涉及油田电缆连接装置技术领域,是一种注水井采油树电缆穿越法兰连接装置,其包括用于连接于井口采油四通法兰与闸门之间的连接法兰,在连接法兰中部固定连通有电缆穿越构件,电缆穿越构件包括上短接、临时阀和下短接,上短接、临时阀和下短接自上而下依序固定安装,在上短接上端密封安装有密封压盖,在下短接下部内设置有第一限位凸台,在第一限位凸台上方的下短接内部形成一级密封腔室。本实用新型在不改变注水井口工艺流程的前提下,连接信号传输电缆,密封井内压力,使信号传输电缆无需穿越井口套管闸门和测试闸门,由此不妨碍所述闸门对井内压力的控制,消除误操作闸门而导致信号传输电缆被剪断或损坏的问题。

图片来源于网络,如有侵权,请联系删除
今年以来中国石油新获得专利授权363个,较去年同期减少了31.38%。结合公司2024年年报财务数据,2024年公司在研发方面投入了230.14亿元,同比增4.77%。

图片来源于网络,如有侵权,请联系删除
数据来源:天眼查APP
以上内容为证券之星据公开信息整理,由智能算法生成(网信算备310104345710301240019号),不构成投资建议。