格力电器获得实用新型专利授权:“华司检测装置及自动化设备”
62841
2025月04月16日
证券之星消息,根据天眼查APP数据显示格力电器(000651)新获得一项实用新型专利授权,专利名为“华司检测装置及自动化设备”,专利申请号为CN202420696781.1,授权日为2025年4月15日。

图片来源于网络,如有侵权,请联系删除
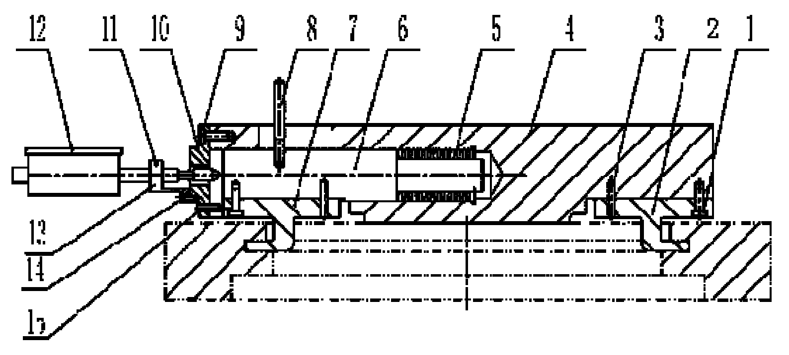
专利摘要:本实用新型公开了一种华司检测装置及自动化设备。本实用新型在支架上设置安装座和滑动座,安装座上设有上顶针,滑动座上设有与上顶针对应夹紧产品的下顶针,下顶针外套有弹簧且在顶针底部设有连接块,连接块上装有感应片;滑动座上设有接近传感器,产品上无华司时,上顶针和下顶针夹紧后感应片在接近传感器的感应范围内,接近传感器发出无华司信号,产品上有华司时,上顶针和下顶针夹紧后,下顶针带动感应片向下移动,感应片不在接近传感器的感应范围内,接近传感器发出有华司信号。

图片来源于网络,如有侵权,请联系删除
今年以来格力电器新获得专利授权1692个,较去年同期减少了2.31%。结合公司2024年中报财务数据,2024上半年公司在研发方面投入了35.32亿元,同比减0.35%。
数据来源:天眼查APP
以上内容为证券之星据公开信息整理,由智能算法生成(网信算备310104345710301240019号),不构成投资建议。