格力电器获得实用新型专利授权:“一种磁悬浮轴承和磁悬浮旋转机械”
证券之星消息,根据天眼查APP数据显示格力电器(000651)新获得一项实用新型专利授权,专利名为“一种磁悬浮轴承和磁悬浮旋转机械”,专利申请号为CN202422454880.1,授权日为2025年6月27日。

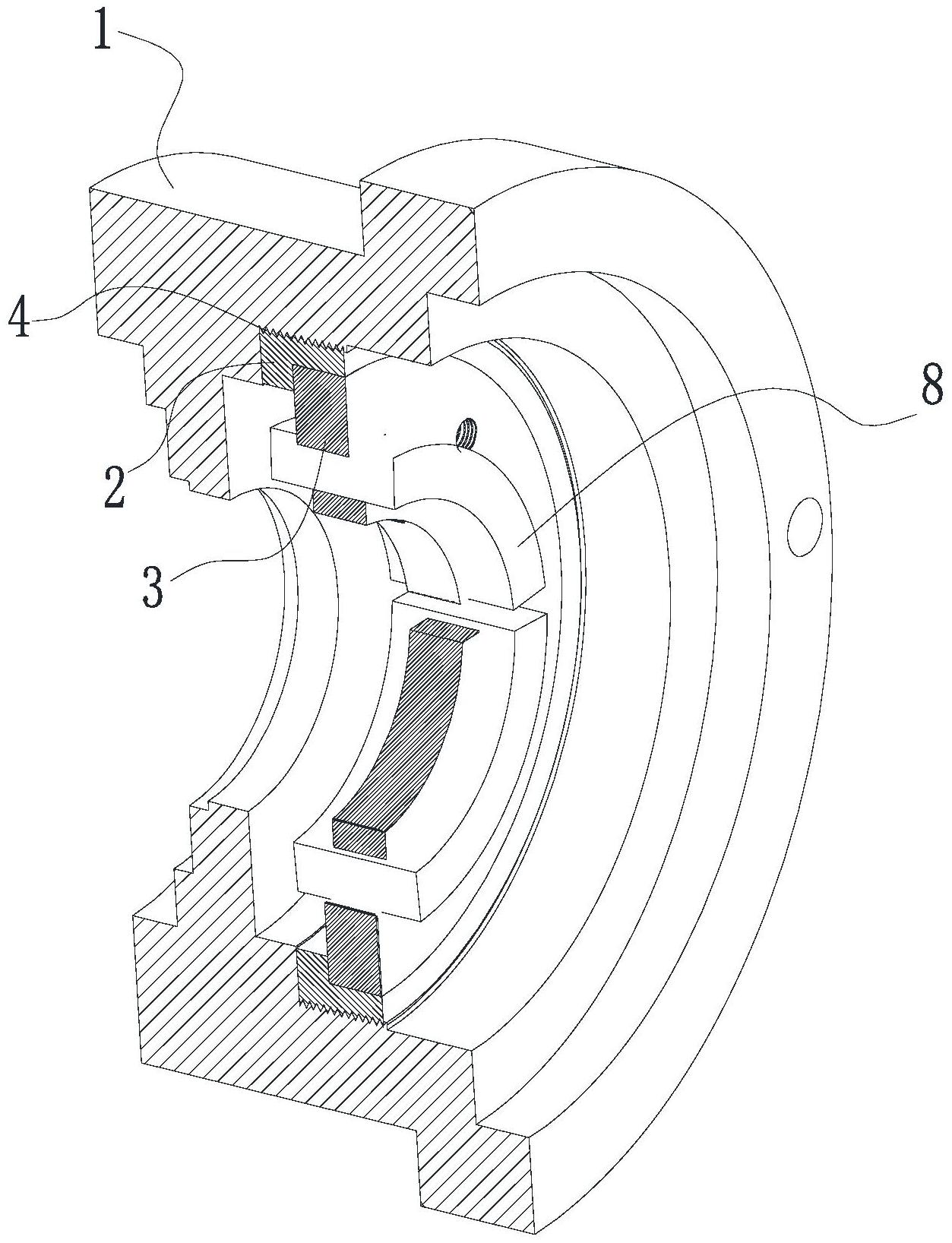
图片来源于网络,如有侵权,请联系删除
专利摘要:本实用新型提供一种磁悬浮轴承和磁悬浮旋转机械,磁悬浮轴承包括:轴向定子一、轴向定子二和推力盘,磁悬浮轴承的轴向方向上,推力盘设置于轴向定子一和轴向定子二之间,推力盘上从其轴向一端面至轴向另一端面贯穿设置有推力盘通风孔,轴向定子一包括径向外侧部一和径向内侧部一,径向外侧部一与径向内侧部一在轴向定子一的径向方向间隔设置,且二者之间形成线圈槽一,线圈槽一中设置线圈一,第一推力盘进风孔位于推力盘的轴向一端面的一端在轴向方向与线圈槽一的位置相对,第一推力盘进风孔的一端与轴向定子一的磁极位置不相对。根据本实用新型实现对磁悬浮轴承的提高散热冷却的同时还能避免对磁悬浮磁路造成影响,保证具有足够的磁悬浮支撑力。
今年以来格力电器新获得专利授权3150个,较去年同期减少了4.02%。结合公司2024年年报财务数据,2024年公司在研发方面投入了69.04亿元,同比增2.1%。
通过天眼查大数据分析,珠海格力电器股份有限公司共对外投资了100家企业,参与招投标项目26607次;财产线索方面有商标信息8132条,专利信息115519条,著作权信息297条;此外企业还拥有行政许可828个。
数据来源:天眼查APP
以上内容为证券之星据公开信息整理,由AI算法生成(网信算备310104345710301240019号),不构成投资建议。