南 玻A获得发明专利授权:“一种等距自动调节装置及等间距支撑设备”
79061
2025月06月28日
证券之星消息,根据天眼查APP数据显示南 玻A(000012)新获得一项发明专利授权,专利名为“一种等距自动调节装置及等间距支撑设备”,专利申请号为CN202011632385.5,授权日为2025年6月27日。

图片来源于网络,如有侵权,请联系删除
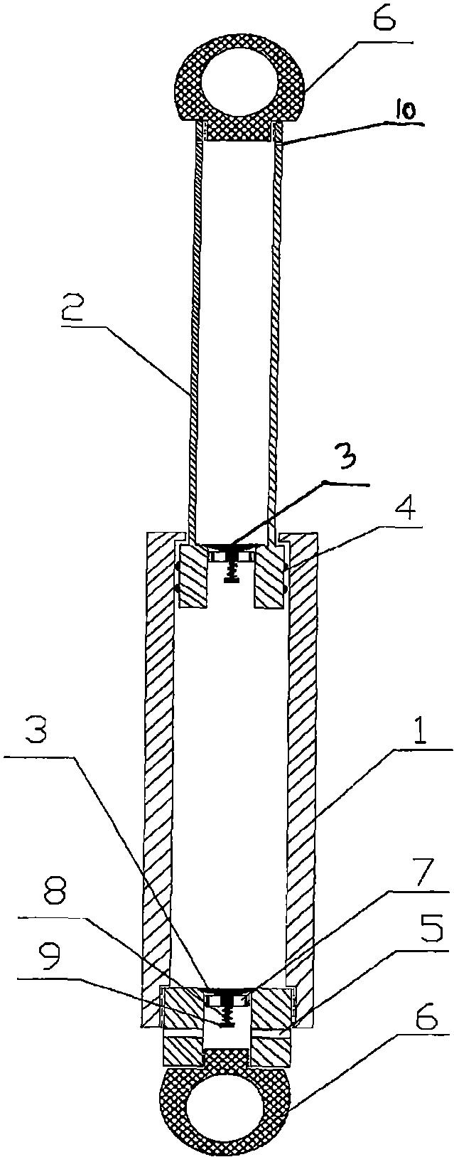
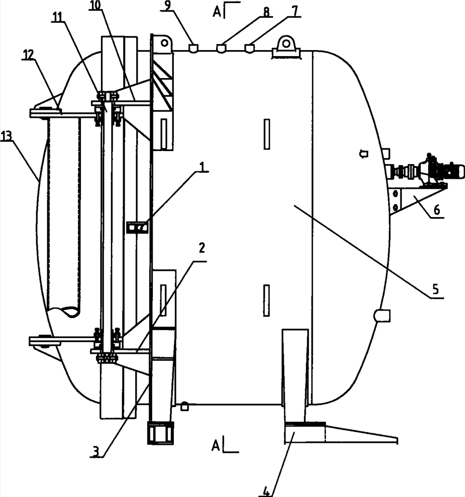
专利摘要:本发明公开了一种等距自动调节装置及等间距支撑设备,涉及玻璃加工设备领域。等间距支撑设备包括依次间隔设置的移动边、第一支撑装置、第二支撑装置以及固定边等距自动调节装置包括第一滑轮组以及第二滑轮组;第一滑轮组包括第一定滑轮、第二定滑轮、第三定滑轮、第一动滑轮以及第一传动带;第二滑轮组包括第四定滑轮、第五定滑轮、第六定滑轮、第二动滑轮、第三动滑轮以及第二传动带。在移动边向朝着固定边的方向移动距离S时,第一滑轮组带动第二支撑装置向朝着固定边的方向移动1/3S,第二滑轮组带动第一支撑装置向朝着固定边的方向移动2/3S,由此,第一支撑装置与第二支撑装置依旧是等间距设置在移动边与固定边之间。

图片来源于网络,如有侵权,请联系删除
今年以来南 玻A新获得专利授权99个,较去年同期减少了20.8%。结合公司2024年年报财务数据,2024年公司在研发方面投入了6.11亿元,同比减17.29%。
数据来源:天眼查APP
以上内容为证券之星据公开信息整理,由AI算法生成(网信算备310104345710301240019号),不构成投资建议。