常宝股份获得实用新型专利授权:“油管母扣扭矩面校对基准装置”
证券之星消息,根据天眼查APP数据显示常宝股份(002478)新获得一项实用新型专利授权,专利名为“油管母扣扭矩面校对基准装置”,专利申请号为CN202422261386.3,授权日为2025年7月8日。

图片来源于网络,如有侵权,请联系删除
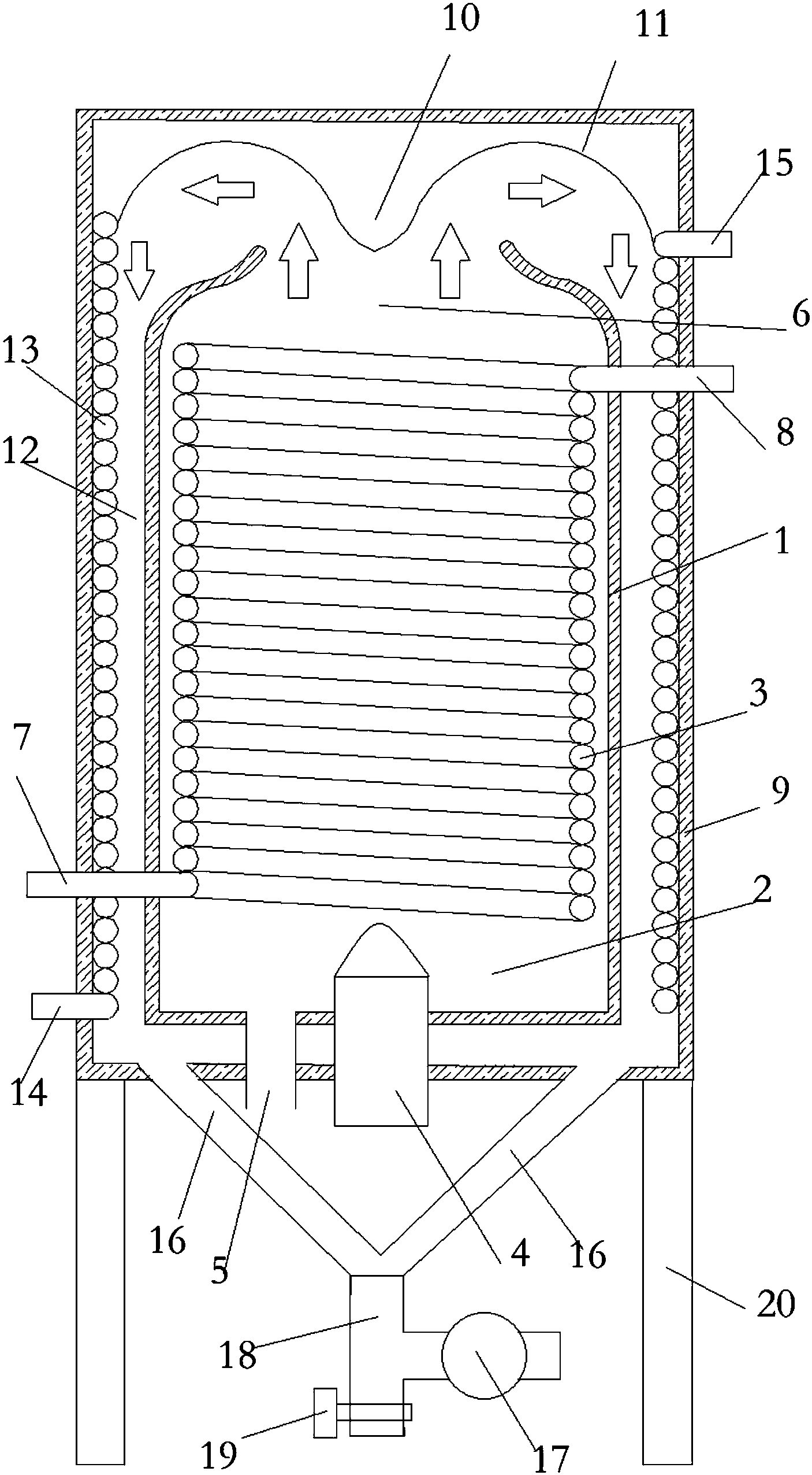
专利摘要:本实用新型公开了一种油管母扣扭矩面校对基准装置,用于校准油管测量量具,包括:基准构件、过渡构件、固定长度构件以及长度调节构件,所述基准构件呈圆环形,其内径表面沿轴向设有台肩凸起,所述基准构件的台肩凸起上设有倾斜面;所述过渡构件的下端安装在所述基准构件上,所述过渡构件的内径表面设有基准过渡面,所述基准过渡面呈锥形,其内径尺寸下小上大;所述固定长度构件安装于所述过渡构件的上端面上,所述固定长度构件与所述过渡构件接触的一端设有沿径向向内延伸的环形过渡斜锥形凸起,所述环形过渡斜锥形凸起与所述基准过渡面的上端相衔接。本实用新型能够为测量量具提供校对基准,并且适应多规格的油管母扣扭矩面校对。

图片来源于网络,如有侵权,请联系删除
今年以来常宝股份新获得专利授权11个,较去年同期减少了42.11%。结合公司2024年年报财务数据,2024年公司在研发方面投入了2.11亿元,同比减15.85%。
通过天眼查大数据分析,江苏常宝钢管股份有限公司共对外投资了12家企业,参与招投标项目204次;财产线索方面有商标信息3条,专利信息188条;此外企业还拥有行政许可22个。
数据来源:天眼查APP
以上内容为证券之星据公开信息整理,由AI算法生成(网信算备310104345710301240019号),不构成投资建议。