科达制造获得实用新型专利授权:“一种振动装置和人造石压机”
证券之星消息,根据天眼查APP数据显示科达制造(600499)新获得一项实用新型专利授权,专利名为“一种振动装置和人造石压机”,专利申请号为CN202421712574.7,授权日为2025年8月8日。

图片来源于网络,如有侵权,请联系删除
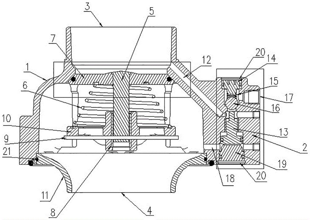
专利摘要:本实用新型涉及振动成型领域,特别涉及一种振动装置和人造石压机,包括若干个振动机构和联轴机构,相邻两个所述振动机构通过联轴机构连接;所述振动机构包括振动本体和转轴,所述转轴上套设有固定偏心块和可动偏心块;所述联轴机构包括联轴组件,所述联轴组件包括调偏件和联轴件,所述调偏件设于转轴的端部,且所述调偏件和转轴的周向相对固定;所述调偏件和联轴件的周向能相对移动;所述固定偏心块通过调偏件转动第一预设角度,所述可动偏心块绕转轴向相反方向转动第二预设角度,以使固定偏心块和可动偏心块之间形成预设夹角。采用本实用新型,能使激振力合理分配,且结构简单。

图片来源于网络,如有侵权,请联系删除
今年以来科达制造新获得专利授权58个,较去年同期增加了18.37%。结合公司2024年年报财务数据,2024年公司在研发方面投入了3.44亿元,同比增17.8%。

图片来源于网络,如有侵权,请联系删除
通过天眼查大数据分析,科达制造股份有限公司共对外投资了39家企业,参与招投标项目104次;财产线索方面有商标信息102条,专利信息1597条,著作权信息78条;此外企业还拥有行政许可226个。
数据来源:天眼查APP
以上内容为证券之星据公开信息整理,由AI算法生成(网信算备310104345710301240019号),不构成投资建议。