楚天科技获得实用新型专利授权:“一种瓶子质量检测装置及灌装机”
49611
2025月05月13日
证券之星消息,根据天眼查APP数据显示楚天科技(300358)新获得一项实用新型专利授权,专利名为“一种瓶子质量检测装置及灌装机”,专利申请号为CN202421136737.1,授权日为2025年5月13日。

图片来源于网络,如有侵权,请联系删除
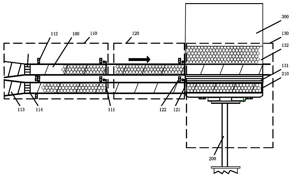
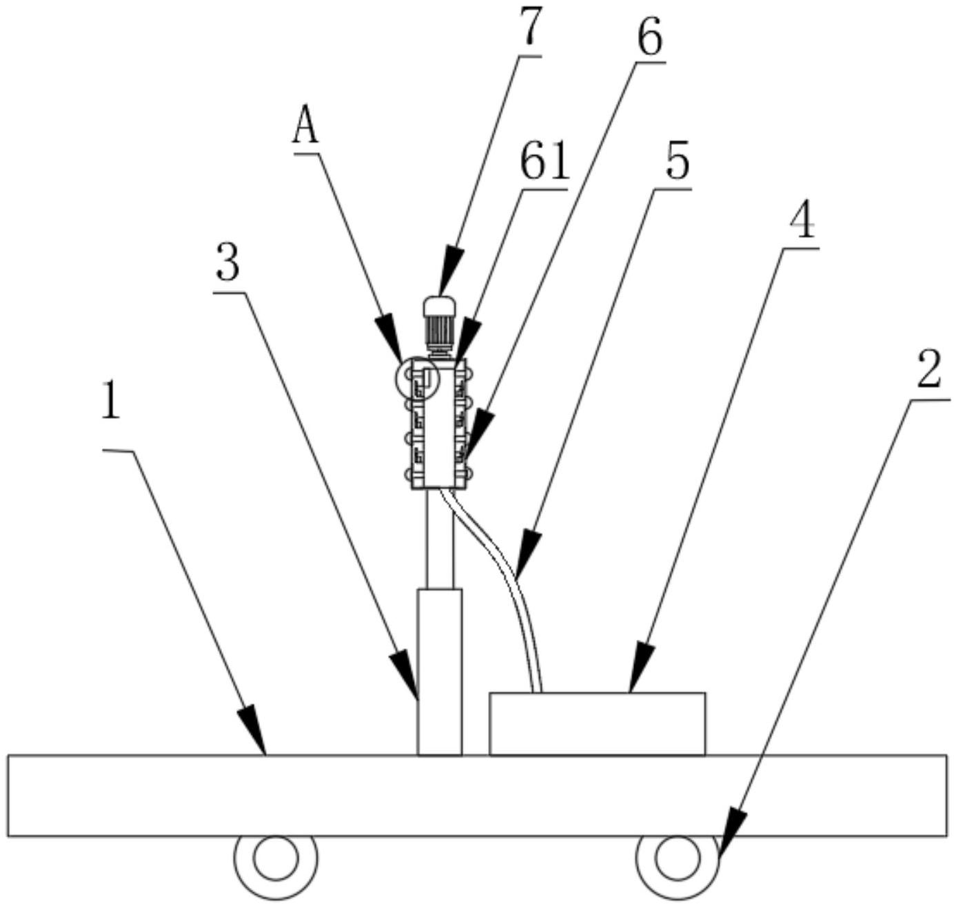
专利摘要:本实用新型提供一种瓶子质量检测装置及灌装机,其中瓶子质量检测装置包括从下至上依次设置的光源、透镜和拍摄装置,用于驱动透镜升降的第一升降装置以及用于驱动拍摄装置升降的第二升降装置;所述第一升降装置与透镜之间设有距离调节装置,用于调整透镜与第一升降装置之间的距离。本实用新型能够实现透镜在X\Y方向调节,便于瓶子的质量检测。

图片来源于网络,如有侵权,请联系删除
今年以来楚天科技新获得专利授权108个,较去年同期增加了9.09%。结合公司2024年年报财务数据,2024年公司在研发方面投入了6.25亿元,同比增6.41%。

图片来源于网络,如有侵权,请联系删除
数据来源:天眼查APP
以上内容为证券之星据公开信息整理,由AI算法生成(网信算备310104345710301240019号),不构成投资建议。