福立旺获得实用新型专利授权:“一种压力调节夹持装置”
68668
2025月06月06日
证券之星消息,根据天眼查APP数据显示福立旺(688678)新获得一项实用新型专利授权,专利名为“一种压力调节夹持装置”,专利申请号为CN202422028562.9,授权日为2025年6月6日。

图片来源于网络,如有侵权,请联系删除
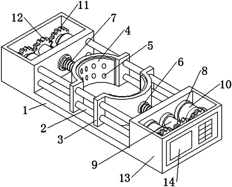
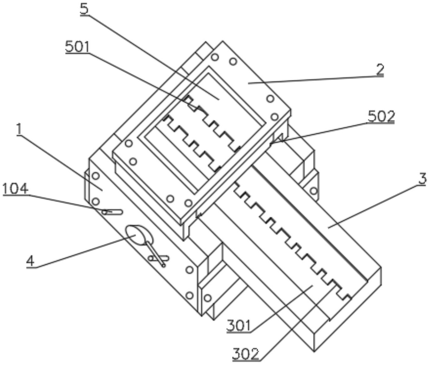
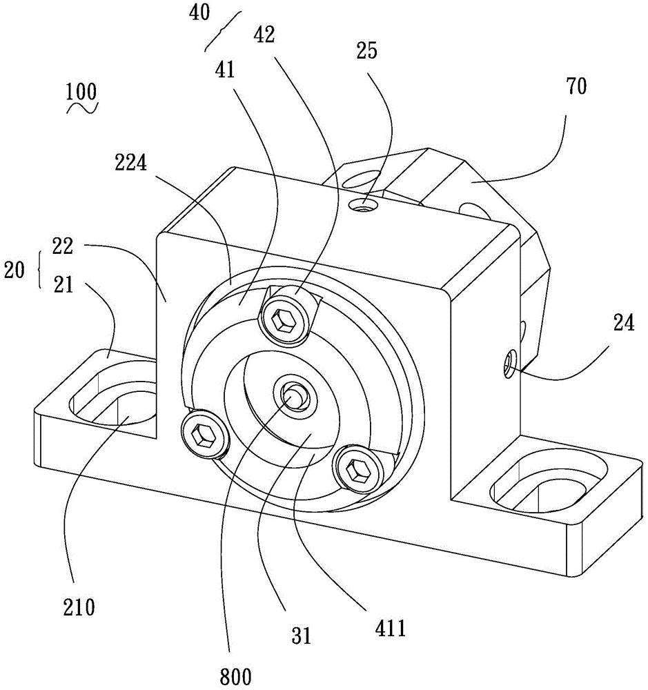
专利摘要:本实用新型提供一种压力调节夹持装置,涉及夹持装置夹持压力调整技术领域,包括用于放置工件的夹持台,所述夹持台台面其中一对立侧边均贯穿设置有用于工件夹持的滑动块且台底另一对立侧边位置均固定连接有连接架,所述夹持台台面位于每一个连接架的位置贯穿设置有若干线性阵列分布的U型板,本实用新型通过设置滚轴和滚轮便于推动工件移动过程中,降低工件与夹持台台面的摩擦力,即保证工件可以在不需要施加较大的推力作用下顺利地移动,因此后续不需要进行压力调整。

图片来源于网络,如有侵权,请联系删除
今年以来福立旺新获得专利授权108个,较去年同期增加了33.33%。结合公司2024年年报财务数据,2024年公司在研发方面投入了1.22亿元,同比增24.22%。

图片来源于网络,如有侵权,请联系删除
数据来源:天眼查APP
以上内容为证券之星据公开信息整理,由AI算法生成(网信算备310104345710301240019号),不构成投资建议。