格力电器获得发明专利授权:“挡位保持组件、变速箱和汽车”
62186
2025月06月28日
证券之星消息,根据天眼查APP数据显示格力电器(000651)新获得一项发明专利授权,专利名为“挡位保持组件、变速箱和汽车”,专利申请号为CN202211550602.5,授权日为2025年6月27日。

图片来源于网络,如有侵权,请联系删除
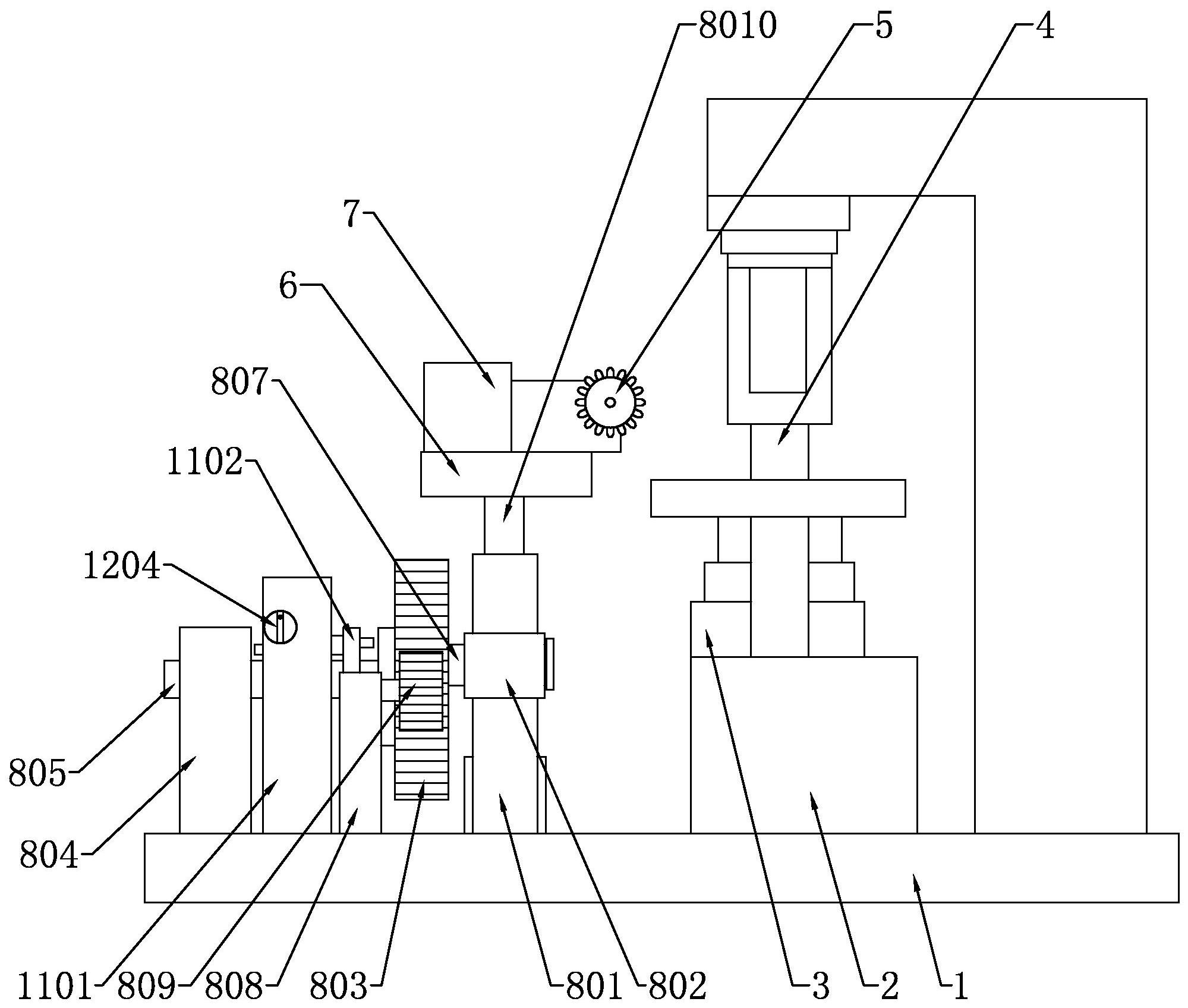
专利摘要:本申请提供一种挡位保持组件、变速箱和汽车。该挡位保持组件包括拨叉轴,所述拨叉轴上设有多个挡位保持机构;多个所述挡位保持机构沿所述拨叉轴的轴向上间隔设置,分别与不同挡位对应;所述挡位保持机构设为磁性调控件,使得所述拨叉轴能够维持在不同挡位位置。本申请通过在拨叉轴上设置磁性调控件,在拨叉轴移动至不同挡位时,磁性调控件能够使得拨叉轴处于稳定状态;相对于传统结构,消除了磨损,提高使用寿命。

图片来源于网络,如有侵权,请联系删除
今年以来格力电器新获得专利授权3283个,较去年同期减少了1.62%。结合公司2024年年报财务数据,2024年公司在研发方面投入了69.04亿元,同比增2.1%。
通过天眼查大数据分析,珠海格力电器股份有限公司共对外投资了100家企业,参与招投标项目26607次;财产线索方面有商标信息8132条,专利信息115519条,著作权信息297条;此外企业还拥有行政许可828个。
数据来源:天眼查APP
以上内容为证券之星据公开信息整理,由AI算法生成(网信算备310104345710301240019号),不构成投资建议。