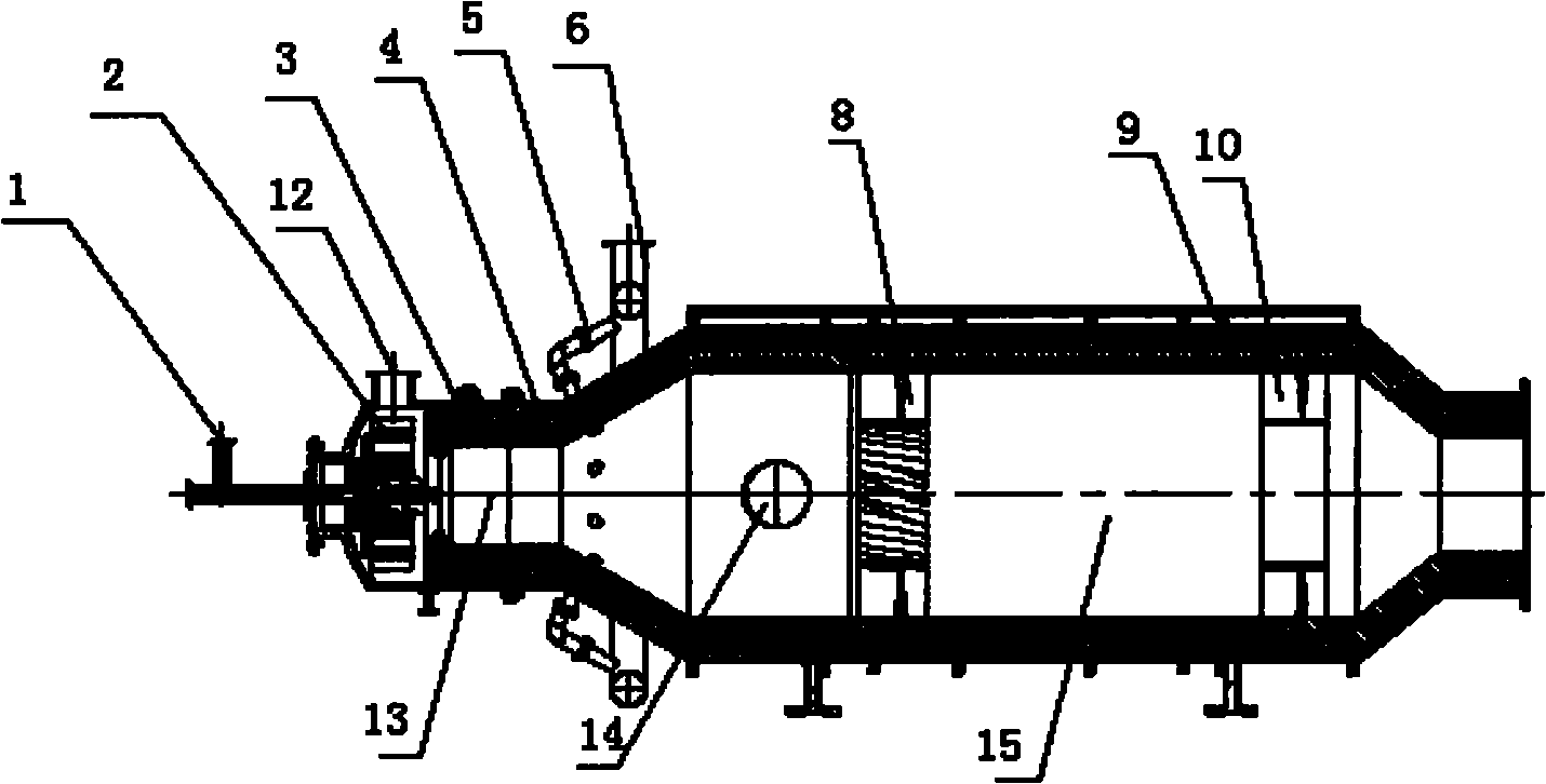
中科电气公布国际专利申请:“一种通道式感应加热中间包的涡流防护系统”
49236
2025月08月09日
证券之星消息,根据企查查数据显示中科电气(300035)公布了一项国际专利申请,专利名为“一种通道式感应加热中间包的涡流防护系统”,专利申请号为PCT/CN2024/109527,国际公布日为2025年8月7日。

图片来源于网络,如有侵权,请联系删除
专利详情如下:

图片来源于网络,如有侵权,请联系删除
图片来源:世界知识产权组织(WIPO)

图片来源于网络,如有侵权,请联系删除
今年以来中科电气已公布的国际专利申请1个,与去年同期持平。结合公司2024年年报财务数据,2024年公司在研发方面投入了2.03亿元,同比减19.76%。
数据来源:企查查
以上内容为证券之星据公开信息整理,由AI算法生成(网信算备310104345710301240019号),不构成投资建议。