长虹美菱获得实用新型专利授权:“铰链组件及导向块”
65945
2025月11月07日
证券之星消息,根据天眼查APP数据显示长虹美菱(000521)新获得一项实用新型专利授权,专利名为“铰链组件及导向块”,专利申请号为CN202422317827.7,授权日为2025年11月7日。

图片来源于网络,如有侵权,请联系删除
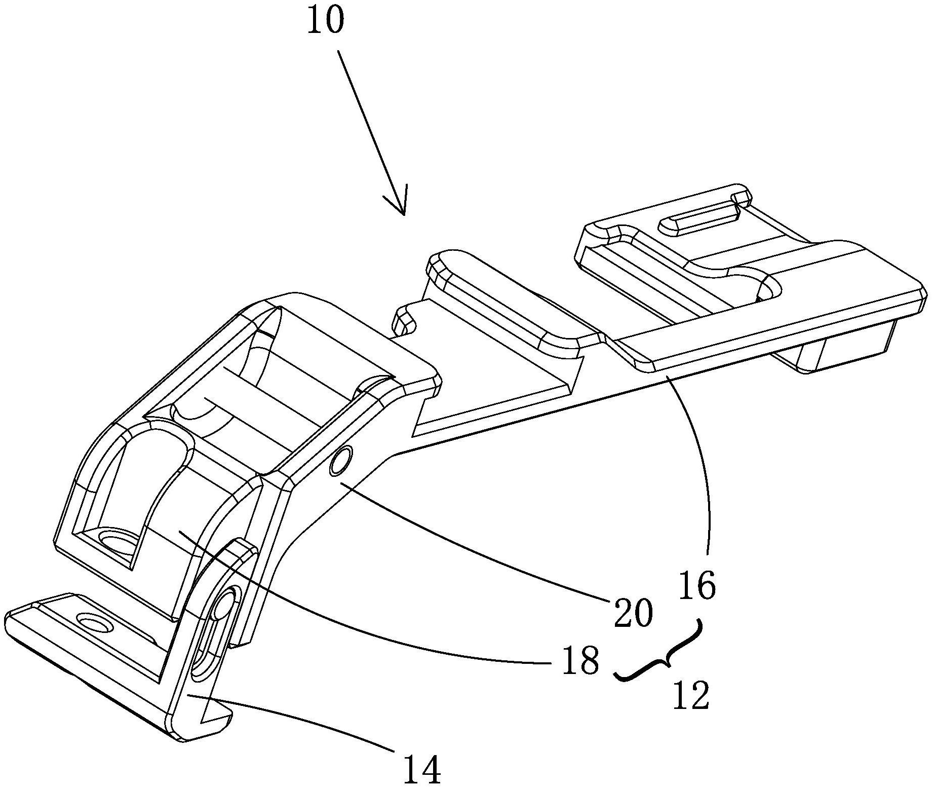
专利摘要:本实用新型提供一种铰链组件及导向块,所述铰链组件包括:第一连接板,第一连接板与箱体连接;第二连接板,第二连接板垂直于第一连接板,第二连接板与第一连接板固定连接;导向块设置有第一轨迹槽和连接孔;导向块与门体连接;第二连接板设置有第一连接轴、固定轴、连杆、第二连接轴,连杆的一端与固定轴转动连接,连杆的另一端与第二连接轴转动连接;第一连接轴穿过第一轨迹槽与导向块滑动连接;第二连接轴插入连接孔与导向块连接。通过在导向块设置第一轨迹槽,在门体开关过程中,第一连接轴在第一轨迹槽内滑动,从而改变门体与箱体的间距,避免门体在转动时与墙体接触,以解决嵌入式冰箱,门体距离墙体较近时,墙体容易干涉门体转动的问题。

图片来源于网络,如有侵权,请联系删除
今年以来长虹美菱新获得专利授权243个,较去年同期减少了13.83%。结合公司2025年中报财务数据,今年上半年公司在研发方面投入了3.25亿元,同比增12.97%。

图片来源于网络,如有侵权,请联系删除
数据来源:天眼查APP
以上内容为证券之星据公开信息整理,由AI算法生成(网信算备310104345710301240019号),不构成投资建议。