大族数控获得发明专利授权:“分张机构、上料装置及加工系统”
证券之星消息,根据天眼查APP数据显示大族数控(301200)新获得一项发明专利授权,专利名为“分张机构、上料装置及加工系统”,专利申请号为CN202310968297.X,授权日为2026年3月3日。

图片来源于网络,如有侵权,请联系删除
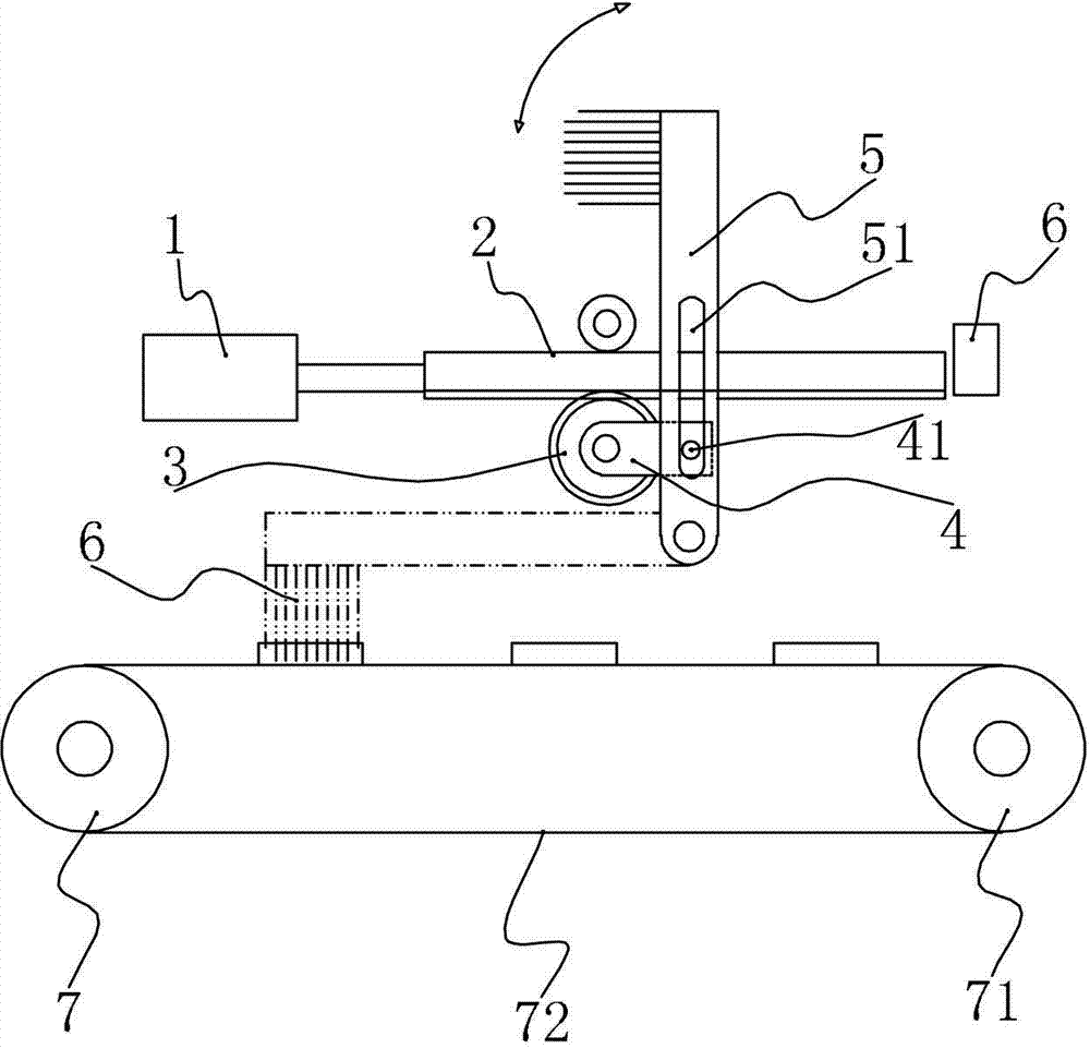
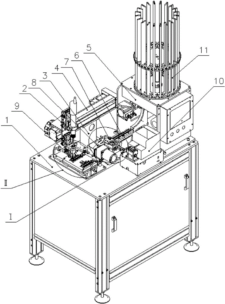
专利摘要:本发明公开了一种分张机构、上料装置及加工系统,涉及分张的技术领域。分张机构包括连接板组件和至少两个吸附元件,各吸附元件沿连接板组件的长度方向间隔安装于连接板组件,各吸附元件远离连接板组件的端面为吸附面,且各吸附面设置在同一方向,至少一个吸附面与其他吸附面不在同一水平面上,以能够在吸附起多张柔性件时通过使各柔性件发生不同程度的弯曲产生间隙而分张;各吸附元件均设有缓冲件,以使在不同水平线上的各吸附面通过不同程度的缓冲均能贴住多张柔性件。本发明解决了现有柔性件拾取过程中经常拾取起多张柔性件的技术问题。

图片来源于网络,如有侵权,请联系删除
今年以来大族数控新获得专利授权57个,较去年同期增加了16.33%。结合公司2025年中报财务数据,2025上半年公司在研发方面投入了1.59亿元,同比增56.07%。

图片来源于网络,如有侵权,请联系删除
通过天眼查大数据分析,深圳市大族数控科技股份有限公司共对外投资了8家企业,参与招投标项目135次;财产线索方面有商标信息71条,专利信息1518条,著作权信息215条;此外企业还拥有行政许可30个。
数据来源:天眼查APP
以上内容为证券之星据公开信息整理,由AI算法生成(网信算备310104345710301240019号),不构成投资建议。