山外山获得实用新型专利授权:“一种泄压阀”
证券之星消息,根据天眼查APP数据显示山外山(688410)新获得一项实用新型专利授权,专利名为“一种泄压阀”,专利申请号为CN202520340642.X,授权日为2026年3月6日。

图片来源于网络,如有侵权,请联系删除
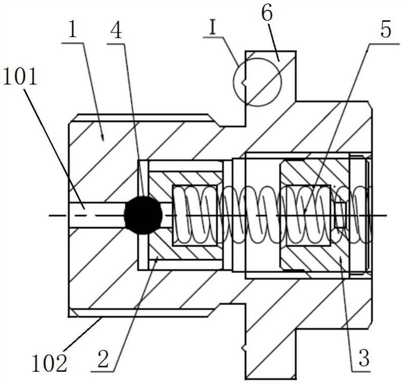
专利摘要:本实用新型涉及血液透析设备技术领域,尤其涉及一种泄压阀,包括上阀体和下阀体,上阀体和下阀体之间的腔体内压装有压垫和压垫底部的密封膜片,密封膜片将腔体分隔为上腔体和下腔体,上阀体的顶部设有调节旋钮,上腔体内设有与调节旋钮连接的调节螺纹副,压垫中部设有通孔,通孔内设有压块,压块与调节螺纹副之间设有弹性体;下腔体内设有出水阀口;在弹性件的挤压下压块的底部中间部位与密封膜片的中部相抵接用于封闭出水阀口,压块的底部边缘与密封膜片之间设有间隙;当泄压阀进液时,液体能够因密封膜片的向上移动而改变泄压阀腔体容积的大小,进而对泄压阀前端的压力进行自我的调节,同时本实用新型还能解决泄压阀在工作时出现啸叫的问题。

图片来源于网络,如有侵权,请联系删除
今年以来山外山新获得专利授权3个,较去年同期减少了40%。结合公司2025年中报财务数据,2025上半年公司在研发方面投入了3491万元,同比增31.11%。

图片来源于网络,如有侵权,请联系删除
通过天眼查大数据分析,重庆山外山血液净化技术股份有限公司共对外投资了8家企业,参与招投标项目1203次;财产线索方面有商标信息139条,专利信息258条,著作权信息56条;此外企业还拥有行政许可60个。
数据来源:天眼查APP
以上内容为证券之星据公开信息整理,由AI算法生成(网信算备310104345710301240019号),不构成投资建议。